S型玻璃鋼離心泵-江蘇荆州亨信汽车制造有限公司
<fieldset id="e3x7_yeir4of_xi44"></fieldset>
  • 荆州亨信汽车制造有限公司

    産品展示



    +
    • 5(1699490990867).jpg
    • 1(1699490990923).jpg
    • 2(1699490990853).jpg
    • 3(1699490990924).jpg
    • 4(1699490990942).jpg

    S型玻璃鋼離心泵

    生産廠家:江蘇荆州亨信汽车制造有限公司
    主要材質:玻璃鋼
    流量範圍:2-200m3/h
    揚程範圍:5-60m
    功率範圍:0.75-37kw
    應用領域:化工、冶煉、稀土、農藥、染料、醫藥、造紙、電鍍😍、電ˇ池隔闆等
    适用介質:各種非氧化性酸 (鹽酸、硫酸、甲酸、醋酸、丁👱🏼‍♂️酸、磷酸🧛🏽)等鹽類溶液及多種有機溶劑等

    訂購熱線: 0519-    

    訂購熱線:

    0519-


    産品描述

     

    産品概述

    S型玻璃鋼耐腐離心泵,接觸液體的過流部件均采用改性酚醛玻璃纖維材料經高溫模壓而成,具有🏃🏻‍♀️質輕,高強,不變形,耐高溫,耐腐蝕,保養維修方便等優良性能。軸封采用WB2型外裝式F4波紋機👯🏾‍♂️械密封,密封可靠,使用💯壽命長。産ˇ品廣泛用于石化、冶煉、染料、印💑🏾染、農藥、制藥、稀土、水處理,電鍍、電池隔闆等行業,輸^送溫度不高于100℃的各種非氧化性酸 (鹽酸、硫酸、甲酸、醋酸、丁酸、磷酸)等😌鹽類溶👺液及多種有機溶劑都有良😮‍💨好的耐蝕性,不耐強堿。

     

    型号說明

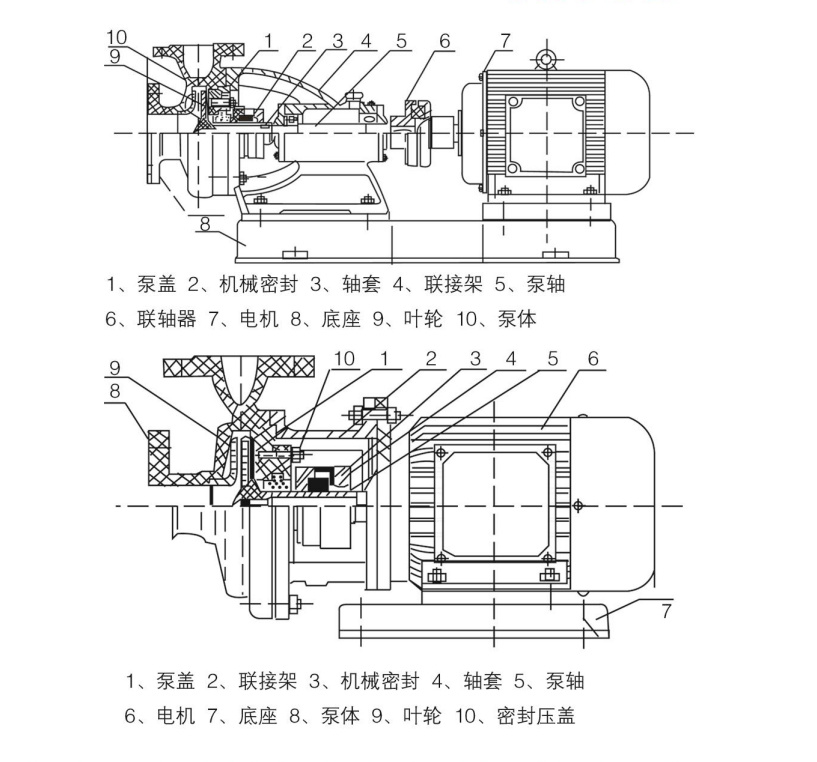
    結構示意圖

    型号及參數

    型   号

    進出口直徑(mm)

    流量 

    (m³/h)

    揚程

    (m)

    電機功率

    (kw)

    轉速

    (r/min)

    效率

    (%)

    汽蝕餘量

    (m)

    進口

    出口

    S25-25-15

    25

    25

    3.2

    15

    0.75

    2900

    41

    3

    S25-25-15

    25

    25

    10

    10

    0.75

    2900

    41

    3

    S25-25-15

    25

    25

    2

    18

    0.75

    2900

    41

    3

    S25-25-25

    25

    25

    3.2

    25

    1.5

    2900

    45

    3

    S25-25-28

    25

    25

    2

    28

    1.5

    2900

    45

    3

    S40-32-18

    40

    32

    10

    18

    1.1

    2900

    50

    3

    S40-32-20

    40

    32

    6.3

    20

    1.1

    2900

    50

    3

    S40-32-32

    40

    32

    6.3

    32

    2.2

    2900

    45

    3

    S50-40-20

    50

    40

    12.5

    20

    2.2

    2900

    53

    3

    S50-32-32

    50

    32

    12.5

    32

    3

    2900

    51

    3

    S50-32-40

    50

    32

    12.5

    40

    3

    2900

    51

    3

    S65-50-20

    65

    50

    25

    20

    3

    2900

    64

    3

    S65-50-32

    65

    50

    25

    32

    5.5

    2900

    60

    3

    S65-50-40

    65

    50

    25

    40

    5.5

    2900

    60

    3

    S80-65-30

    80

    65

    50

    30

    5.5

    2900

    69

    4

    S80-65-32

    80

    65

    50

    32

    7.5

    2900

    69

    4

    S80-65-40

    80

    65

    50

    40

    11

    2900

    69

    4

    S80-65-50

    80

    65

    50

    50

    15

    2900

    69

    4

    S80-65-60

    80

    65

    25

    60

    18.5

    2900

    69

    4

    S100-80-20

    100

    80

    100

    20

    11

    2900

    72

    4

    S100-80-32

    100

    80

    100

    32

    15

    2900

    71

    4

    S100-80-40

    100

    80

    100

    40

    18.5

    2900

    75

    4

    S100-80-50

    100

    80

    100

    50

    30

    2900

    73

    5

    S125-100-20

    125

    100

    150

    20

    18.5

    2900

    71

    5

    S125-100-28

    125

    100

    160

    28

    22

    2900

    71

    5

    S125-100-32

    125

    100

    180

    32

    30

    2900

    72

    5

    S125-100-40

    125

    100

    180

    40

    37

    2900

    74

    5

    S150-125-20

    150

    125

    200

    20

    22

    1450

    75

    5

     

    産品實拍

     

    品質保障

    産品詢價

    <fieldset id="e3x7_yeir4of_xi44"></fieldset>