FZB氟塑料合金自吸泵-江蘇荆州亨信汽车制造有限公司
<tbody id="ho0m9n_arkmge_b0q07"></tbody>

  1. <tr id="038wonc_j0kwk_0r75ix"></tr>

    <code id="ja83ws_aibt_fvl"><bdo id="ck7i7xx_3hcj_0f"></bdo></code>
  2. 荆州亨信汽车制造有限公司

    産品展示



    +
    • 11(1704536246226).jpg
    • 22(1704536246335).jpg
    • 33(1704536246444).jpg
    • 55.jpg
    • 44(1704536246021).jpg

    FZB氟塑料合金自吸泵

    生産廠家:江蘇荆州亨信汽车制造有限公司
    主要材質:氟塑料,高分子
    流量範圍:4-100m³/h
    揚程範圍:10-50m
    功率範圍:2.2-22kw
    應用領域:酸洗工藝、制酸制堿、化工、農藥、造紙、電子等行業🛌🏻
    适用介質:強酸、強堿、有機溶劑和純淨、貴重的化學介質♌️

    訂購熱線: 0519-    

    訂購熱線:

    0519-


    所屬分類:

    産品描述

     

    産品概述

    FZB氟塑料合金自吸泵,過流部件全部采用F46氟塑料合金制造,具有耐強腐蝕、密封性能嚴密可靠、機械強✡️度高、不老化、無毒素分解、維修方便等優點。泵腔内設有吸液室、儲液室、回液止回🏊🏾‍♀️室、氣液分離室、回流孔。隻需在第一次開機前灌注👧🏾引液,以後😥不必重複🧜🏼‍♂️灌注引液,工作時機械密封不需另加冷卻水冷卻🥑️,操作簡便、安全。

     

    型号說明

     

     

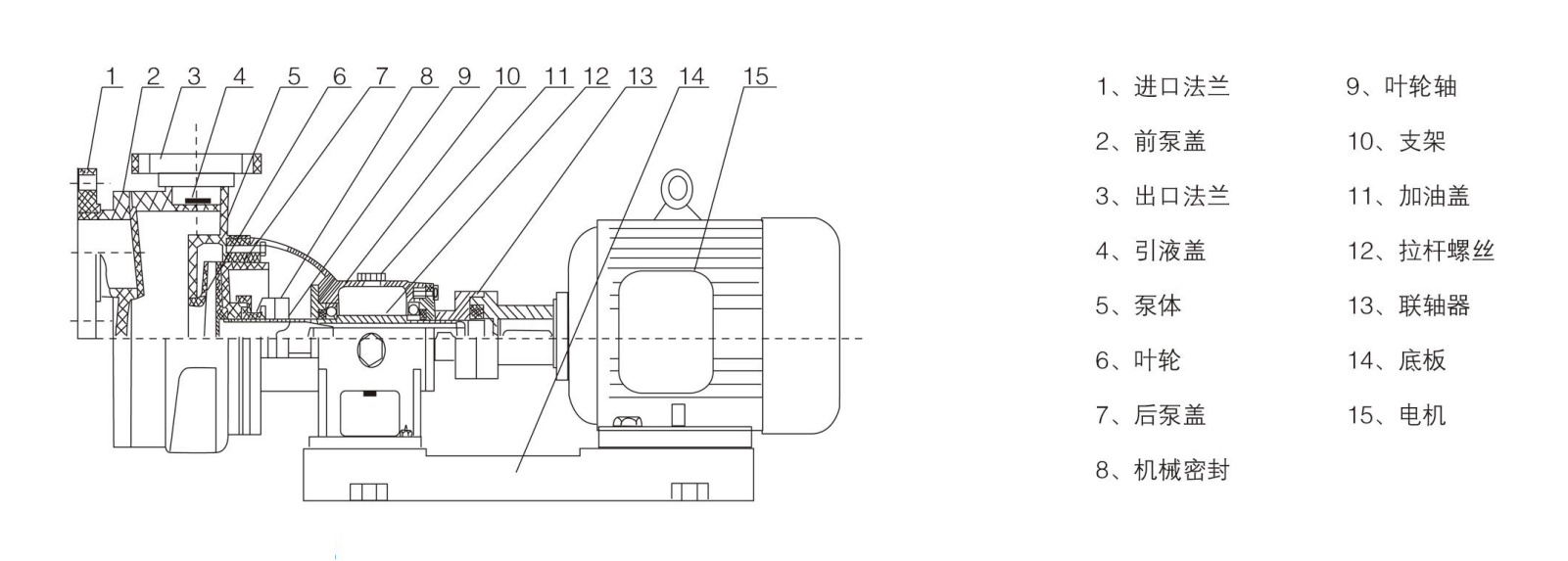
    結構示意圖

     

    型号及參數

    型   号

    進出口直徑(mm)

    流量

    (m3 /h)

    揚程 

    (m)

    電機功率 

    (kw)

    轉速 

    (r/min)

    自吸高度

    (m)

    進口

    出口

    25FZB-20L

    25

    25

    3.6

    20

    2.2

    2900

    3

    40FZB-20L

    40

    32

    8

    20

    3

    2900

    3

    40FZB-30L

    40

    32

    8

    30

    4

    2900

    3

    40FZB-50L

    40

    32

    8

    50

    5.5

    2900

    3

    50FZB-20L

    50

    40

    12

    20

    3

    2900

    3.5

    50FZB-30L

    50

    40

    12

    30

    4

    2900

    3.5

    50FZB-50L

    50

    40

    12

    50

    7.5

    2900

    3.5

    65FZB-25L

    65

    50

    25

    25

    5.5

    2900

    4

    65FZB-30L

    65

    50

    25

    30

    7.5

    2900

    4

    65FZB-50L

    65

    50

    25

    50

    11

    2900

    4

    80FZB-30L

    80

    65

    50

    30

    7.5

    2900

    4

    80FZB-50L

    80

    65

    50

    50

    15

    2900

    4

    100FZB-30L

    100

    80

    100

    30

    18.5

    2900

    4

    100FZB-40L

    100

    80

    100

    40

    22

    2900

    4

     

    産品實拍

     

    品質保障

    産品詢價

    <tbody id="ho0m9n_arkmge_b0q07"></tbody>

    1. <tr id="038wonc_j0kwk_0r75ix"></tr>

      <code id="ja83ws_aibt_fvl"><bdo id="ck7i7xx_3hcj_0f"></bdo></code>